阻容分壓器的儀器結構
阻容分壓器采用阻容分壓法測量高壓交直流,如圖1所示。左側是高壓部分,采用阻容分壓電路,由阻抗Z1和Z2兩部分組成。高壓Ui從上端均壓球處輸入,從阻抗Z2處輸出低壓取樣信號Uo;右側是低壓顯示表,用于處理低壓取樣信號Uo。低壓取樣信號Uo經整流濾波放大處理后送入低壓顯示表顯示。高壓Ui和Uo關系式如公式(1)所示:

儀器結構
本產品是由高壓分壓器和低壓顯示儀表兩部分構成。
1、高壓分壓器部分
① 均壓球② 分壓器絕緣筒③ 接地柱
④ 信號采樣輸出⑤ 分壓器底座
2、低壓顯示表部分
圖3 低壓顯示表
①液晶顯示表頭②信號采樣輸入③電源開關
④交直流選擇⑤高低檔位切換
以上是阻容分壓器的儀器結構,如果需要的,可聯系客服獲取對應的選型和報價。
本產品是由高壓分壓器和低壓顯示儀表兩部分構成。
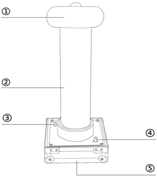
1、高壓分壓器部分
圖2 高壓分壓器
① 均壓球② 分壓器絕緣筒③ 接地柱
④ 信號采樣輸出⑤ 分壓器底座
2、低壓顯示表部分
①液晶顯示表頭②信號采樣輸入③電源開關
④交直流選擇⑤高低檔位切換
以上是阻容分壓器的儀器結構,如果需要的,可聯系客服獲取對應的選型和報價。
- 上一篇: 直流高壓發生器用于泄漏及直流耐壓試驗
- 下一篇: 直高發空升試驗驗證電壓保護整定值








